快適生活ガイド
住まいをより快適にするためのDIYや暮らしのコツをご紹介しています。
ガーデンメモ
ガーデニングや家庭菜園に役立つ、植物の特徴や育て方メモはこちらから。
新卒採用
キャリア採用
カムバック採用
パート・アルバイト採用
・1×4材(1820×89×19mm)…0.3本
・電動ドリルドライバー・スリムビス(太さ3.3×長さ30mm×12 本)・お好みの水性塗料、ワックス・塗装具・紙ヤスリ #180・クランプ・鉛筆・木工用接着剤
【1】木材カット木材を下のようにカットし、表面を滑らかにするためにヤスリがけします。
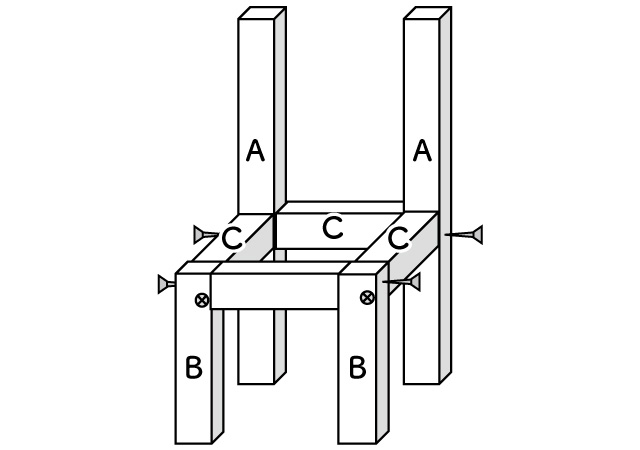
●本体A:200×19×19mm…2本B:90×19×19mm…2本C:70×19×19mm…4本●座面・背もたれD:120×19×5mm…6本
【2】鉛筆で印をつける(墨付け)
①板Aと板Bに鉛筆で線(ⅰ、ⅱ)と、下穴をあける位置に印をつけます。
ⅰの線は、板Bを当てて描き、ⅱの線は、板Cを当てて描きます。下穴の印は、左上寄りにつけます。
②板Aと板Bを矢印方向に向きを変えて置きます。
③板Aと板Bの向きを変えて置いた面に、図のように線と下穴をあけます。
下穴の印は、左下寄りにつけます。
【3】下穴をあける
【4】組み立てる①板A、Bの下穴全てにネジを仮止めします。
②板A、Bに板Cを取り付けます。
③残りの板Cを図のように取り付けます。
【5】塗装するお好みの水性塗料やワックスで塗装します。
座面にステンシルをするとオリジナリティUP!
【6】背もたれ・座面を取り付ける
木工用接着剤で、板D2本を背もたれに、4本を座面に貼り付けます。
この記事をシェア